Zum Hauptinhalt springen Zur Suche springen Zur Hauptnavigation springen

Schweißpunktbohrer HSCO GL66mm DIN1897 D6mm

Artikelnummer: 119806
leichtes Zentrieren, Anbohren und exakt rundes Bohren
Drallrichtung: rechts
Einsatz: zum gratfreien Aufbohren von Schweißpunkten in Metall, AlSi-Legierungen, für Nichteisen- und Buntmetalle
Form des Schaftes: Zylinder
Hauptanwendung: Nichteisenmetalle, Stahl
Material: HSSE
Norm: DIN 1897
Schneidrichtung: rechts
Z: 2

Ausführungen

Produkte filtern

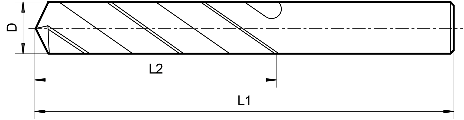
Code d (mm) D (mm) L1 (mm) L2 (mm) Anzahl VE Preis/VE

119806 6 6 66 28 1 Stück
9,16 €

119808 8 8 79 37 1 Stück
10,23 €