Zum Hauptinhalt springen Zur Suche springen Zur Hauptnavigation springen

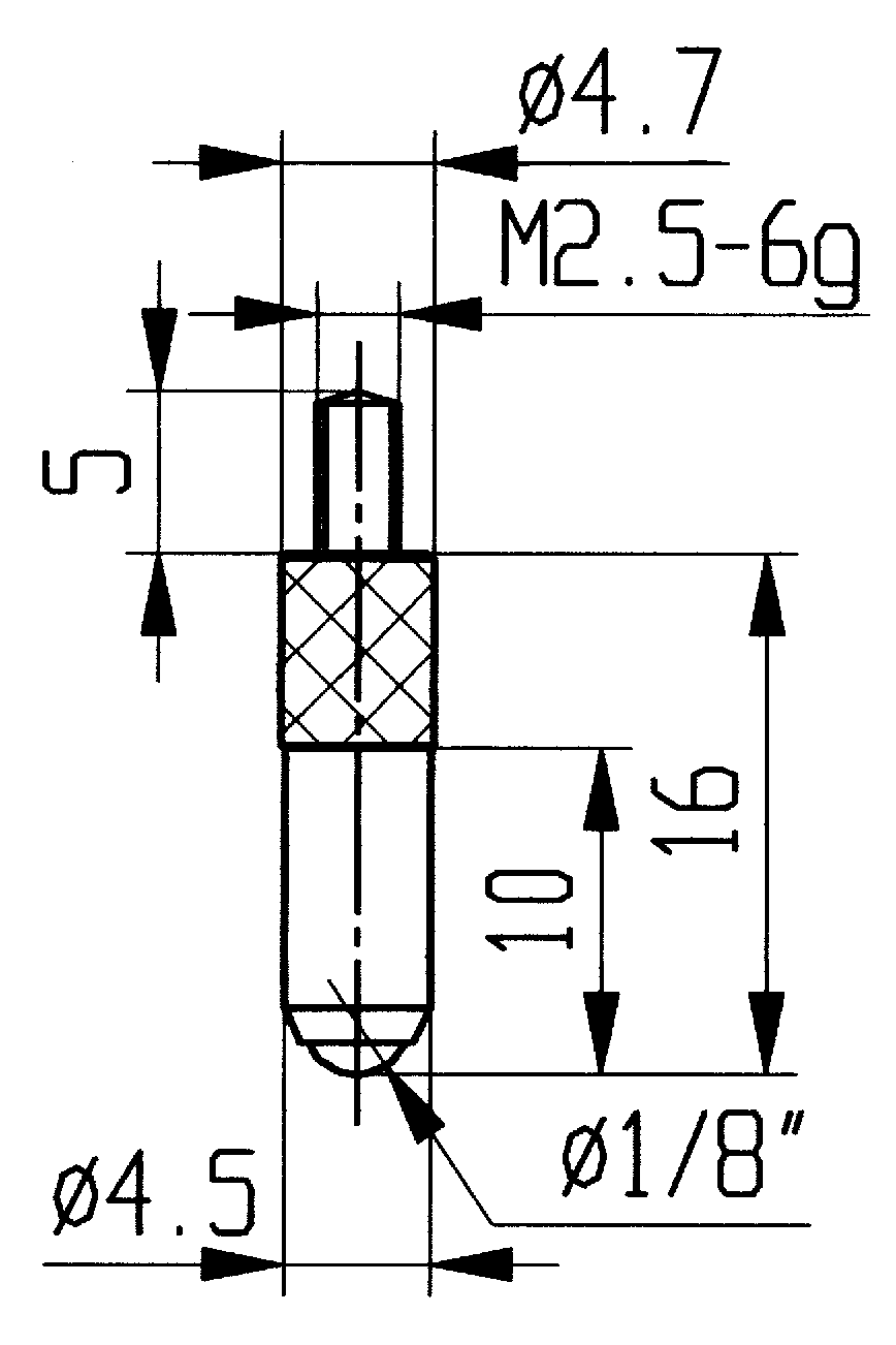
Messtastereinsatz Saphir M2,5 Kugel D1/8" L16mm

Artikelnummer: 3363616